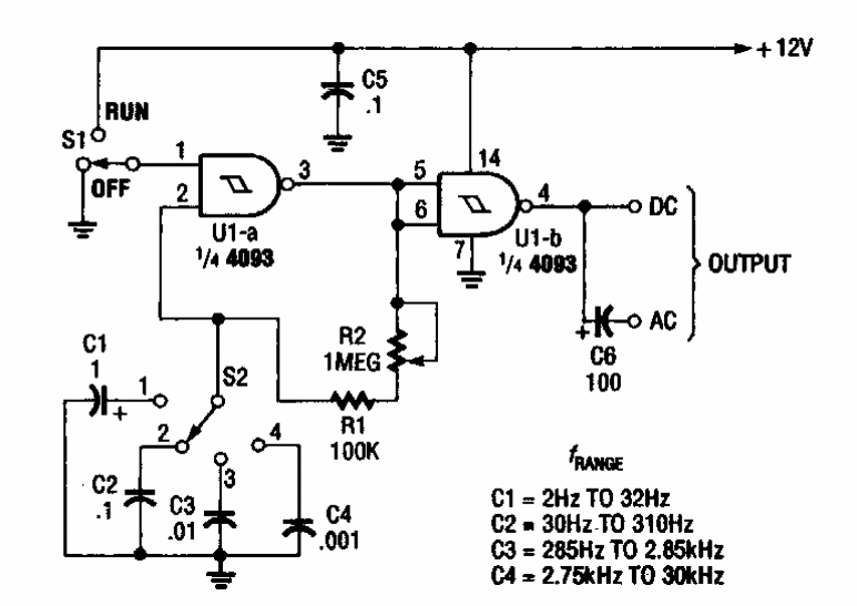
This circuit was found in a Popular Electronics from the 90s. The circuit has 4 frequency ranges selected according to the capacitors. Signal is rectangular.
The circuit shown in figure 1 is a suggested application for ISL8107, a new integrated circuit from...
The integrated circuit is the 4093 and one of its four gates is used. The frequency is given by...
This circuit, found in a Popular Electronics from 1978, causes two LEDs to flash alternately for a...