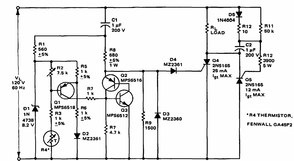
This power control was found in a 1968 power circuit manual. The SCRs are according to the power of the controlled load.
This circuit generates a rectangular signal whose frequency depends on the electrolytic...
This simple tester for general purpose transistors was obtained in an Argentine publication from...
This circuit is intended for calls to the deaf and is indicated in an old English documentation. LEDs can be...