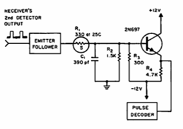
Found in a 1968 Electronic Design, this circuit is intended for suppression of trigger noise in circuits. The transistor admits equivalent.

Found in a 1968 Electronic Design, this circuit is intended for suppression of trigger noise in circuits. The transistor admits equivalent.
