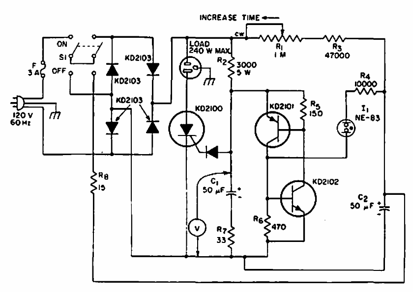
This circuit was found in a 1967 RCA documentation. The semiconductor components are from the time, and modern equivalents can be tried.
This circuit was found in an Experimenters Handbook of the 1990s. The purpose of this circuit is to...
This source, from a 1982 documentation, uses a triac to control the power and voltage applied to...
This circuit was found in the September 1984 issue of Radio Electronics magazine. The circuit has...