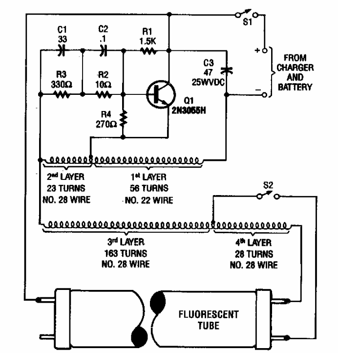
This circuit, with a 12 V input, was found in a Popular Electronics from the 1990s. Information is given about the ferrite-wrapped transformer. The transistor must be mounted on a heatsink.
This sensitive motion sensor with inductive sensor was found in a 90s Elektor. The circuit uses only...
Suggested by Amperex in a 1968 documentation, this circuit is based on TAA370, an integrated circuit...
This filter, found in an old manual, has characteristics of reduced overvoltage given by the graph...