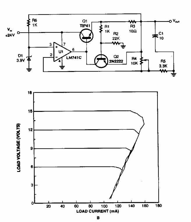
The name of this circuit comes from the appearance of its characteristic curve shown next to the diagram. The circuit was found in a Popular Electronics from the 90s.
Found in an old neon lamp applications manual, this circuit directly triggers an SCR. R and C...
This 20 MHz bandwidth circuit was suggested by the National Semiconductor in 1970 documentation. Modern...
This circuit cuts out ads between songs, based on the fact that the speech signal has small...