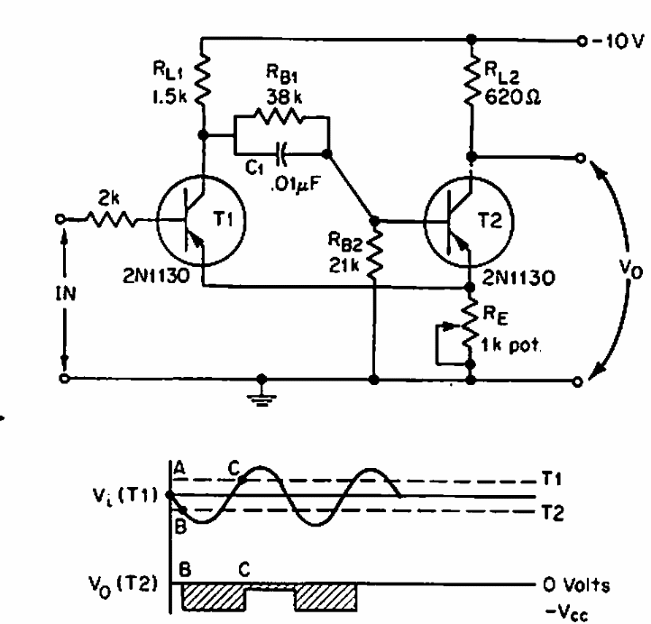
This basic Schmitt trigger was found in an American publication from 1968. The circuit uses transistors from the time. Modern general-purpose types can be used.
This sensitive motion sensor with inductive sensor was found in a 90s Elektor. The circuit uses only...
Suggested by Amperex in a 1968 documentation, this circuit is based on TAA370, an integrated circuit...
This filter, found in an old manual, has characteristics of reduced overvoltage given by the graph...