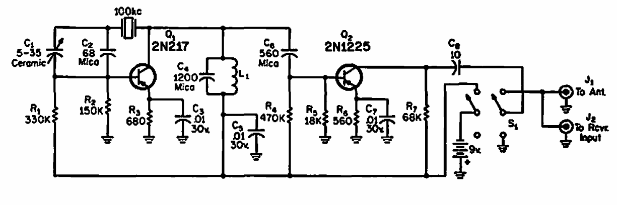
Found in the CQ radio amateur magazine, this circuit generates a standard 100 kHz signal. The circuit is from 1965 and can be made with modern equivalent transistors.
This sensitive motion sensor with inductive sensor was found in a 90s Elektor. The circuit uses only...
Suggested by Amperex in a 1968 documentation, this circuit is based on TAA370, an integrated circuit...
This filter, found in an old manual, has characteristics of reduced overvoltage given by the graph...