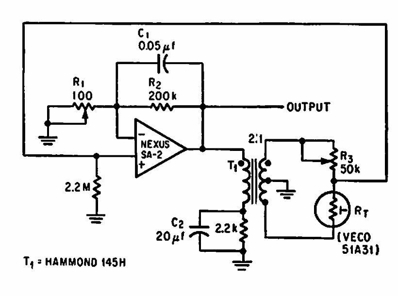
We found this circuit in an old American documentation. The operational amplifier is from the time and the output used to control an SCR or other power control.
This circuit was found in a 1986 publication. The speed of the effect is determined by the 555,...
This preamp version uses BC109 transistors that are older versions of the current BC549 in plastic...
This simple voltage-controlled oscillator generates signals from 300 Hz to 1,500 Hz with voltages from...