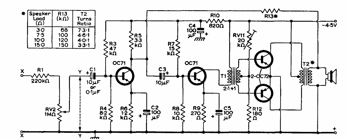
This 4-transistor amplifier can work from 4.5 or 6 V power supplies. We found it in a Mullard transistors manual from 1960. The transistors are from the time.
This circuit was found in a 1986 publication. The speed of the effect is determined by the 555,...
This preamp version uses BC109 transistors that are older versions of the current BC549 in plastic...
This simple voltage-controlled oscillator generates signals from 300 Hz to 1,500 Hz with voltages from...