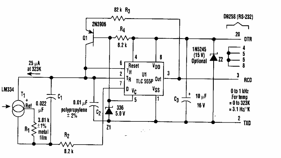
Found in an Electronic Design from the 90's, this circuit uses common components. The circuit is calibrated at 50º C.
This circuit, published in the 1980s, can be applied to operational amplifiers of almost any type....
This touch sensor, found in an American documentation on transistors, has gained 8 million times...
This is one of the many versions of cricket that the reader can find on this site. This circuit is...