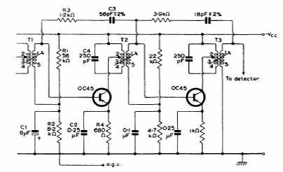
In the figure we have a step with two transistors for a 455kHz IF circuit. The circuit is from a 1960 Mullard transistor manual. The transistors are germanium.

In the figure we have a step with two transistors for a 455kHz IF circuit. The circuit is from a 1960 Mullard transistor manual. The transistors are germanium.
