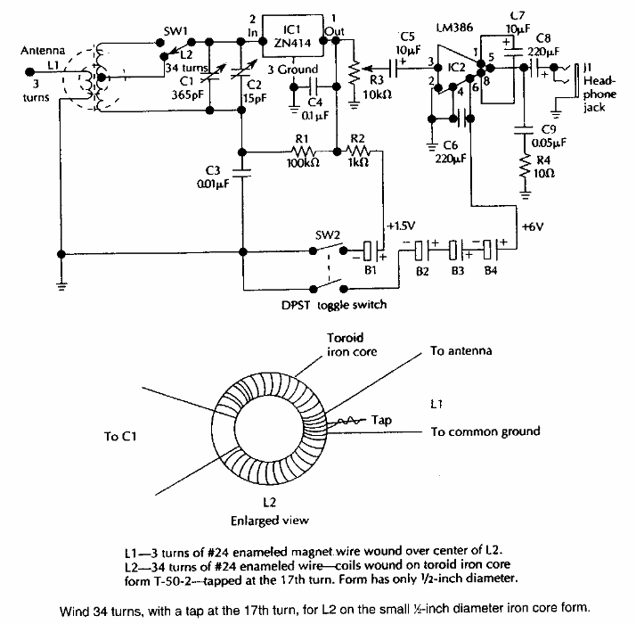
This receiver for frequencies up to 18 MHz was found in American documentation from the 1990s. Data for coil winding is aggregated.
This oscillator with the PLL 4046B was obtained from a 90s Radio Electronics. The circuit...
This protection circuit trips by quickly blowing the fuse in the event of an overcurrent. The circuit is...
This circuit is intended for the testing of junction FETs, providing several reading options...