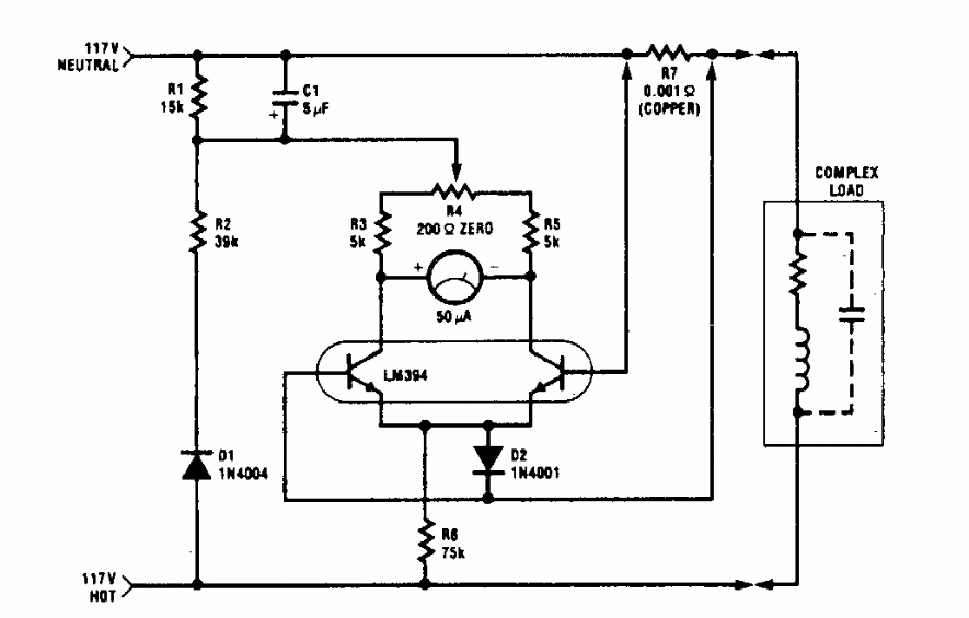
This circuit was obtained from a National Semiconductor manual from the 1990s. The circuit employs a pair of matched transistors, and the indicator is analog.
The purpose of this interesting circuit found in a 1977 documentation is to complete the last...
This circuit allows to drive a triac with high power AC load from a CMOS output or directly from a...
This circuit was obtained in a documentation from the 80's. However, using TTL it is still modern,...