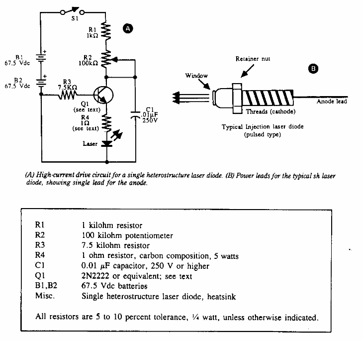
This circuit for semiconductor laser excitation and modulation was found in an American documentation from the 80's. The transistor can be of higher power and the battery power can be done per power supply.
This circuit for semiconductor laser excitation and modulation was found in an American documentation from the 80's. The transistor can be of higher power and the battery power can be done per power supply.