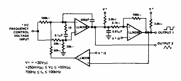
This circuit can generate signals up to 100 kHz. Found in documentation from the 1980s, it makes use of operatives of the time.
The purpose of this interesting circuit found in a 1977 documentation is to complete the last...
This circuit allows to drive a triac with high power AC load from a CMOS output or directly from a...
This circuit was obtained in a documentation from the 80's. However, using TTL it is still modern,...