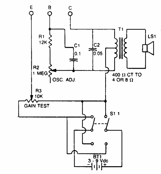
With this circuit it is possible to select transistors and their compliant test. Or circuit consists of an oscillator. Or transformer of the type found in old transistor radios.
This high frequency pulse generator was found in an old American documentation. The circuit makes use...
This small 1 W amplifier uses a Motorola integrated circuit from the 1970s. The integrated circuit...
We found this circuit in a 1966 RCA manual. The integrated circuit is unusual, and the Triac must...