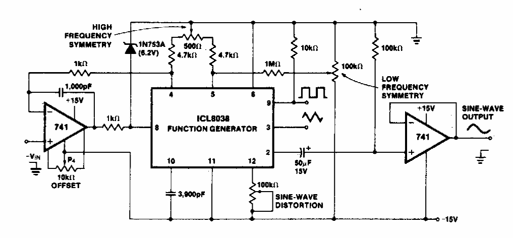
This circuit was obtained in an old documentation. The 8038 integrated circuit is not a common component today.
This high frequency pulse generator was found in an old American documentation. The circuit makes use...
This small 1 W amplifier uses a Motorola integrated circuit from the 1970s. The integrated circuit...
We found this circuit in a 1966 RCA manual. The integrated circuit is unusual, and the Triac must...