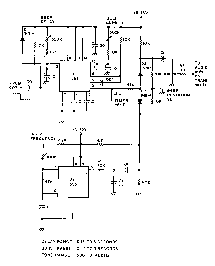
This circuit was found in documentation for radio amateurs of the 1980s. This is the so-called roger-beep, which is the beep that is transmitted when the talk-listen function is changed.
This high frequency pulse generator was found in an old American documentation. The circuit makes use...
This small 1 W amplifier uses a Motorola integrated circuit from the 1970s. The integrated circuit...
We found this circuit in a 1966 RCA manual. The integrated circuit is unusual, and the Triac must...