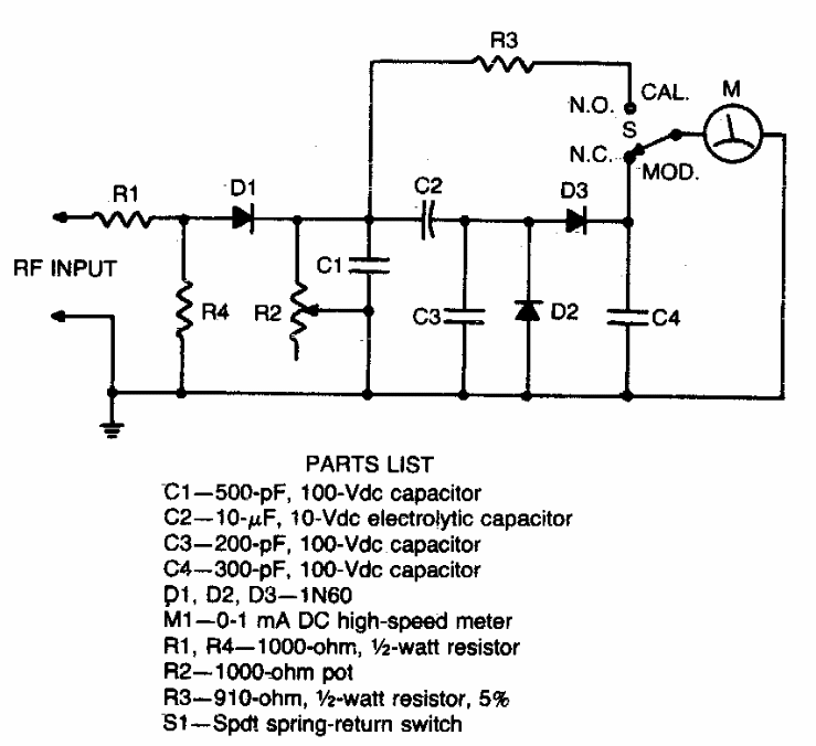
This telegraph monitor was found in an American documentation for radio amateurs from the 1970s. The indicator is a common 1 mA full-scale milliammeter.
This high frequency pulse generator was found in an old American documentation. The circuit makes use...
This small 1 W amplifier uses a Motorola integrated circuit from the 1970s. The integrated circuit...
We found this circuit in a 1966 RCA manual. The integrated circuit is unusual, and the Triac must...