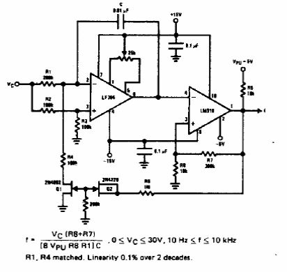
We found this circuit in a documentation from the 90s. The integrated circuits are from the time, but the configuration can be used with modern operators. The power source depends on the operational ones.

We found this circuit in a documentation from the 90s. The integrated circuits are from the time, but the configuration can be used with modern operators. The power source depends on the operational ones.
