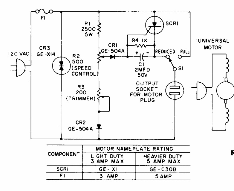
This plug-in control was found in General Electric documentation from the 1970s. The SCR can be the TIC106 mounted on a heatsink. The circuit can be changed to the 220 V network.
This circuit was obtained from a 1962 magazine. It can still be mounted to be powered from 6 V...
This electronic level or plumb indicator has two mercury switches as sensors. The indication is...
This inverting amplifier has a transistor output stage that can increase its current capacity. Higher...