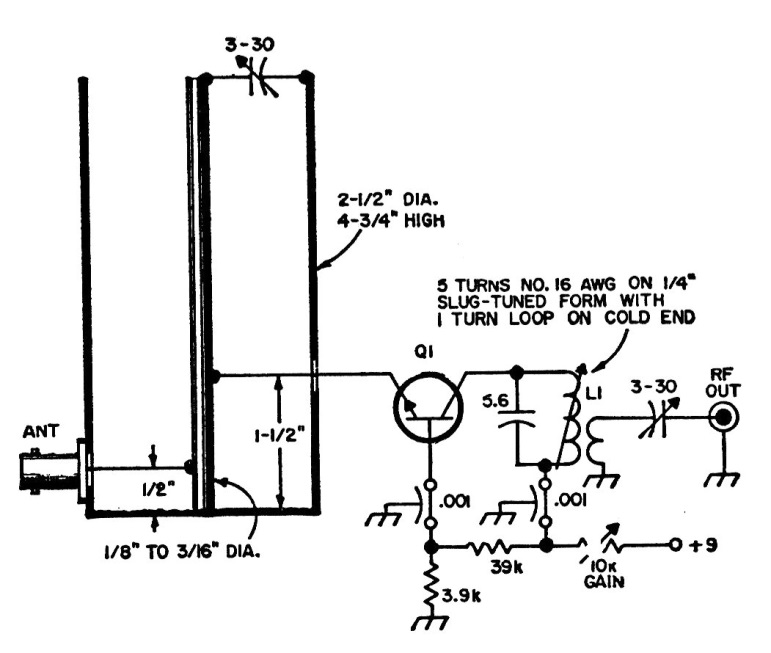
This circuit, very critical due to the frequency at which it operates, was found in an American documentation that uses a resonant cavity in a beer can. The transistor can be of any type for RF.
This circuit was obtained from a 1962 magazine. It can still be mounted to be powered from 6 V...
This electronic level or plumb indicator has two mercury switches as sensors. The indication is...
This inverting amplifier has a transistor output stage that can increase its current capacity. Higher...