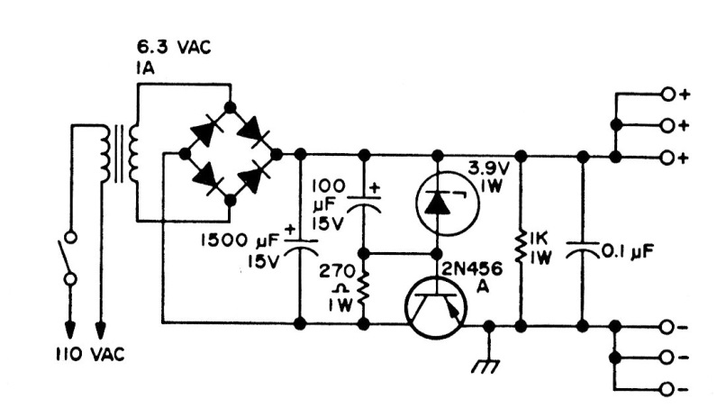
This is a simple source indicated for powering low voltage projects on the bench. The circuit is from old documentation and the transistor can be the TIP32 for currents up to 1 A. The transistor must be equipped with a heat sink.
This is a simple source indicated for powering low voltage projects on the bench. The circuit is from old documentation and the transistor can be the TIP32 for currents up to 1 A. The transistor must be equipped with a heat sink.