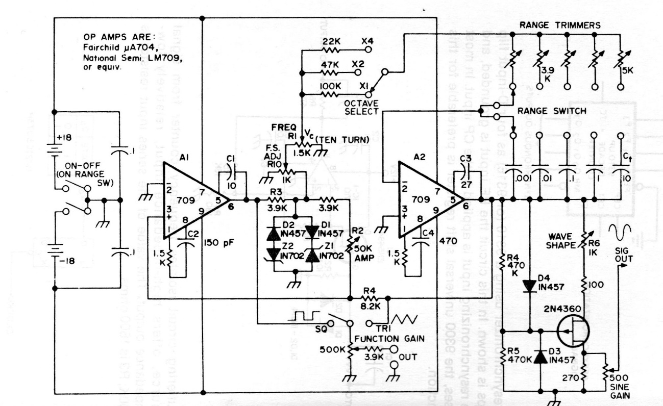
The operational amplifier used in this project no longer exists, but the circuit can be adapted to operate with modern operators. The power supply must be symmetrical. The circuit is from an American publication from the 80s.
The operational amplifier used in this project no longer exists, but the circuit can be adapted to operate with modern operators. The power supply must be symmetrical. The circuit is from an American publication from the 80s.