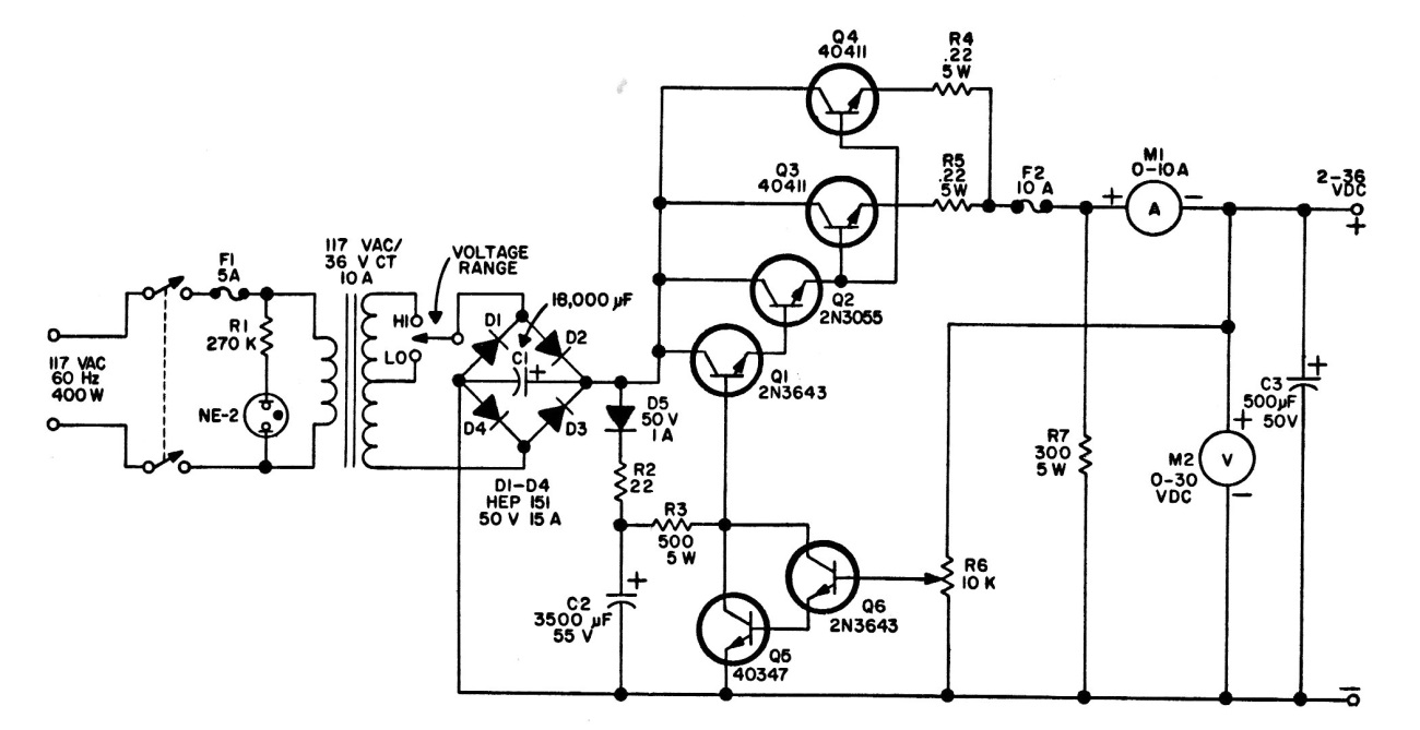
This well-crafted source with current and voltage regulation was found in American documentation from the 1980s. Transistors support modern equivalents in cases where this is necessary.
This well-crafted source with current and voltage regulation was found in American documentation from the 1980s. Transistors support modern equivalents in cases where this is necessary.