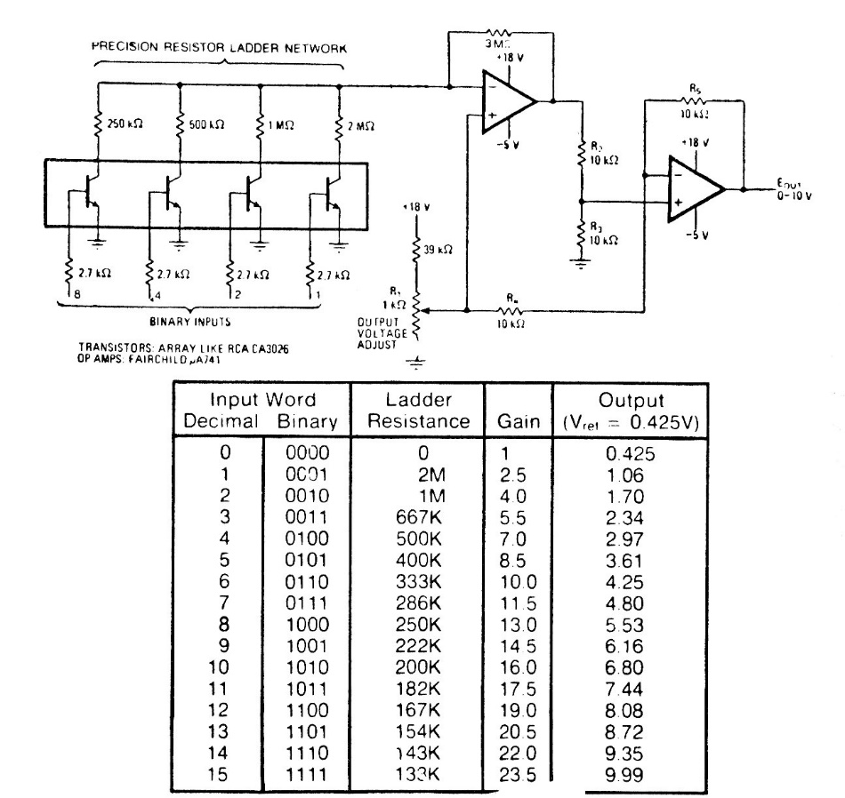
This AD converter uses common components and can be implemented based on modern operationals. The circuit is from 1980s documentation. The table shows the output voltages as a function of the digital input programming.
This AD converter uses common components and can be implemented based on modern operationals. The circuit is from 1980s documentation. The table shows the output voltages as a function of the digital input programming.