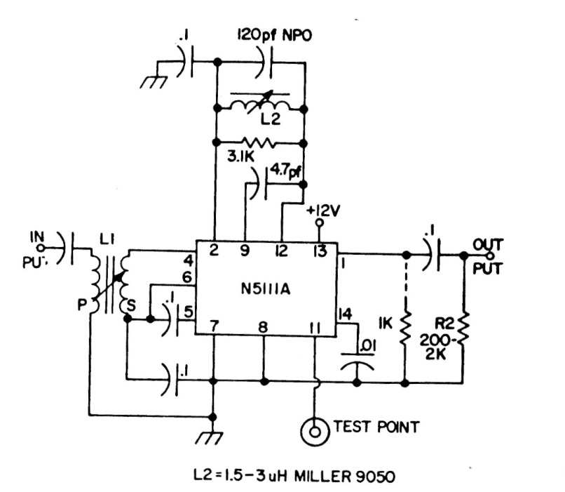
This circuit is based on an unusual component today. It demodulates a 10.7 MHz FI signal and was found in 1980s documentation.
With this circuit it is possible to monitor the charge and discharge of a battery. The circuit is...
Found in 90s Radio Electronics, this shield can control high voltage loads in the power grid....
The duration of the output pulse in this circuit depends on C. This capacitor can have values in...