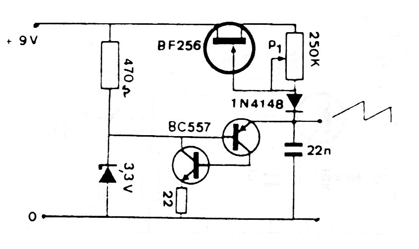
Two complementary transistors in an oscillating configuration simulate an unijunction generating sawtooth signals. This circuit from the 80's has a supply voltage of 9 V and the signals generated are in the audio range depending on the frequency of the capacitor and the setting of P1.




