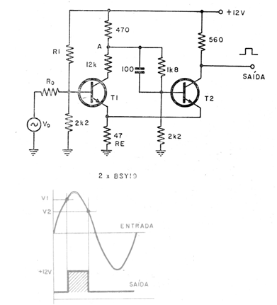
This trigger circuit with transistors, which may be 2N2222, was found in a 1967 publication. The circuit is still current, serving to obtain rectangular pulses from sinusoidal input signals. The input resistor depends on the signal strength applied to the circuit.




