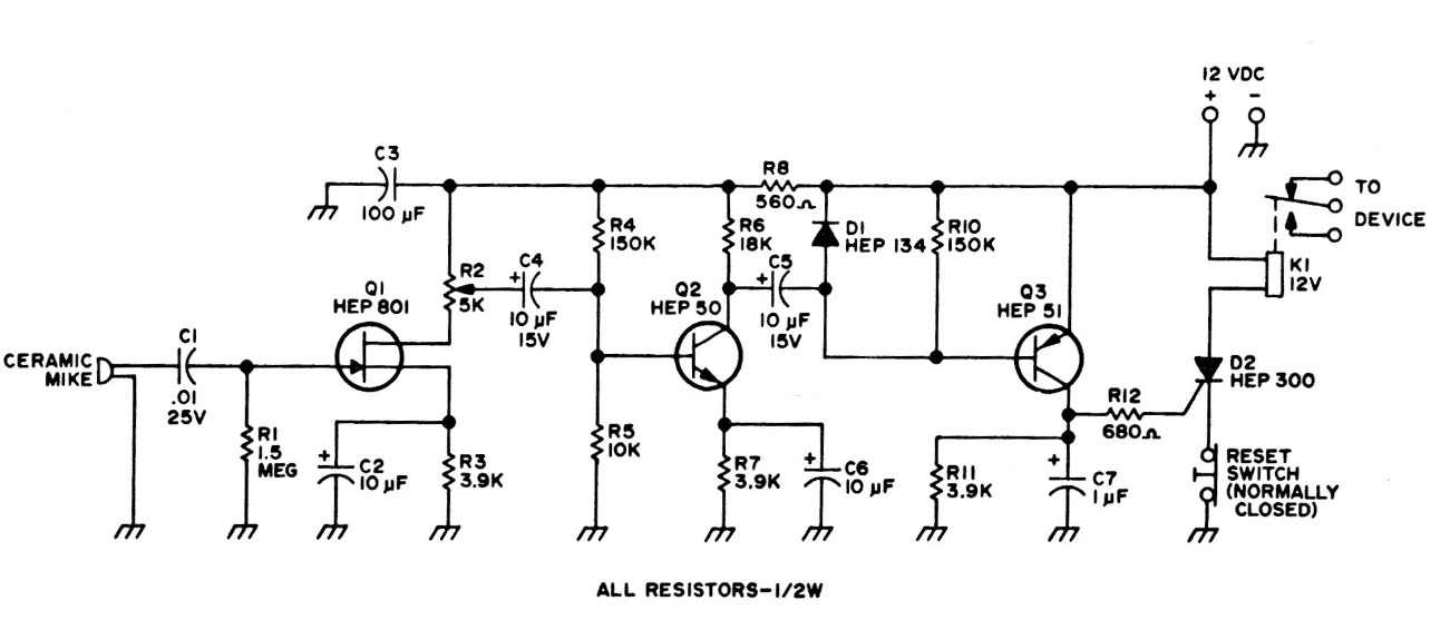
This Vox or sound activated relay was found in an American documentation from 1975. Equivalent transistors can be used, and the SCR can be a TIC106. The relay is according to the supply voltage.
This circuit was found in a 1975 documentation. Current general-purpose transistors can be used,...
We found this circuit in a publication for radio amateurs in 1974. The bipolar transistors can be...
This conventional humidity or water alarm circuit was found in an English documentation from 1974....