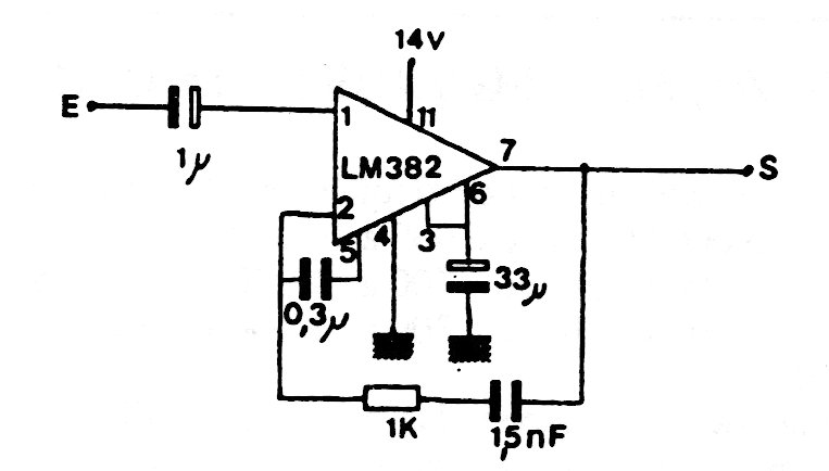
This circuit from the 1980s uses an operational amplifier that is uncommon today. The circuit can be designed with modern operators. The gain is 40 dB.
Bipolar transistors are types of general use like BC548, while the power MOSFET can be of any type...
This circuit generates a signal rich in harmonics that extends up to close to 1 GHz, serving for...
This second-order low-pass Salen-Key filter was obtained from an American 1980s documentation. Formulas...