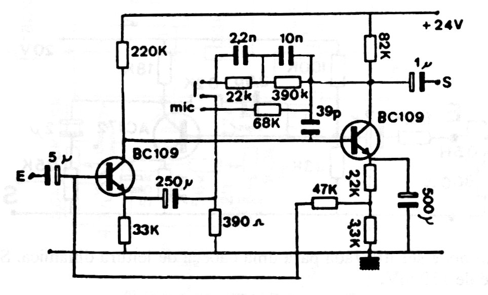
This preamp version uses BC109 transistors that are older versions of the current BC549 in plastic enclosure. The circuit is from a technical documentation from the 90s and is powered by the amplifier with which it must work.
This preamp version uses BC109 transistors that are older versions of the current BC549 in plastic enclosure. The circuit is from a technical documentation from the 90s and is powered by the amplifier with which it must work.