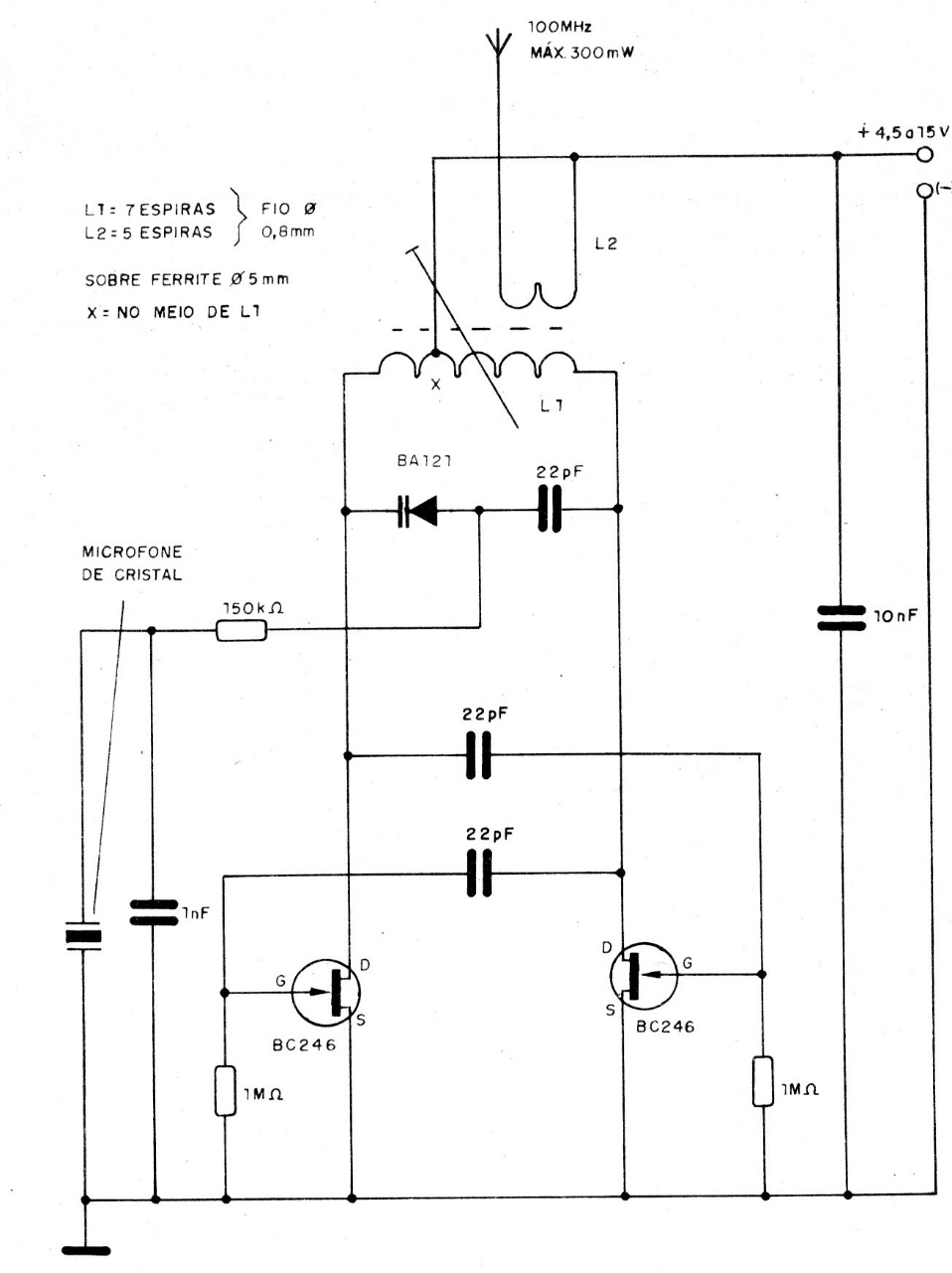
This transmitter with FET in counterphase was obtained in a documentation from the 90's. The transmitter has modulation by crystal or ceramic microphone and details of the coils are given next to the diagram.
This transmitter with FET in counterphase was obtained in a documentation from the 90's. The transmitter has modulation by crystal or ceramic microphone and details of the coils are given next to the diagram.