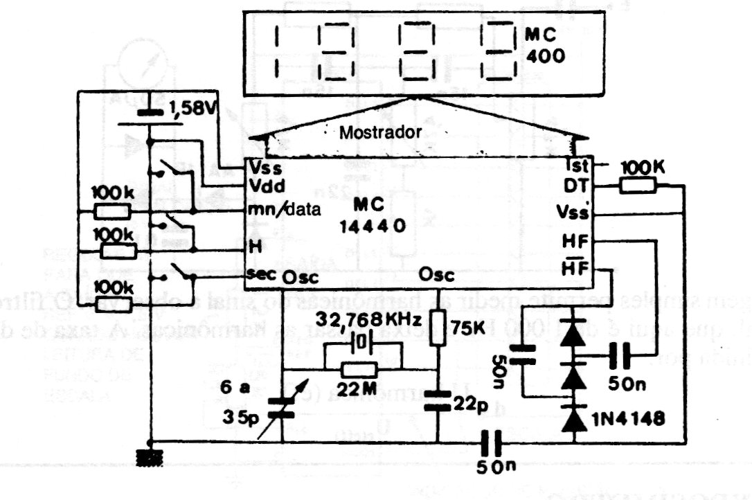
This watch uses a liquid crystal display. The circuit is from the 80s and the module used is uncommon nowadays. Power is provided by a single cell.
Bipolar transistors are types of general use like BC548, while the power MOSFET can be of any type...
This circuit generates a signal rich in harmonics that extends up to close to 1 GHz, serving for...
This second-order low-pass Salen-Key filter was obtained from an American 1980s documentation. Formulas...