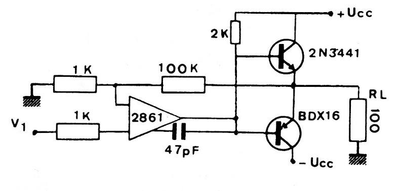
This operational amplifier circuit with power output using complementary transistors was found in a European publication from the 1980s. Transistors can be modern equivalents such as BD135 and BD136 and the operational also admits equivalents. The font must be symmetrical and depends on the operational and the application.




