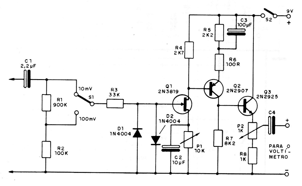
This circuit is connected to the input of a good amplifier serving as a follower of audio signals or audio probe with excellent gain. The circuit has a sensitivity of 10 mV and an input impedance of 1 M ohm. We found the circuit in a technical documentation from the 80s.




