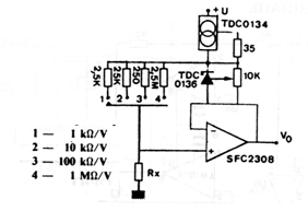
This resistance meter has a linear scale, converting resistances to voltage. The operational amplifier can be replaced with an equivalent. The circuit is from an 80s manual.

This resistance meter has a linear scale, converting resistances to voltage. The operational amplifier can be replaced with an equivalent. The circuit is from an 80s manual.
