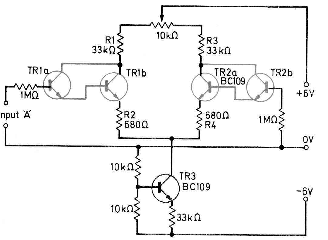
This circuit was found in a European documentation from the 70s. The circuit has a greater gain than the previous one (CB19241E) for using a Darlington configuration. The transistors can be the BC548 and the power must be supplied by a symmetrical source.




