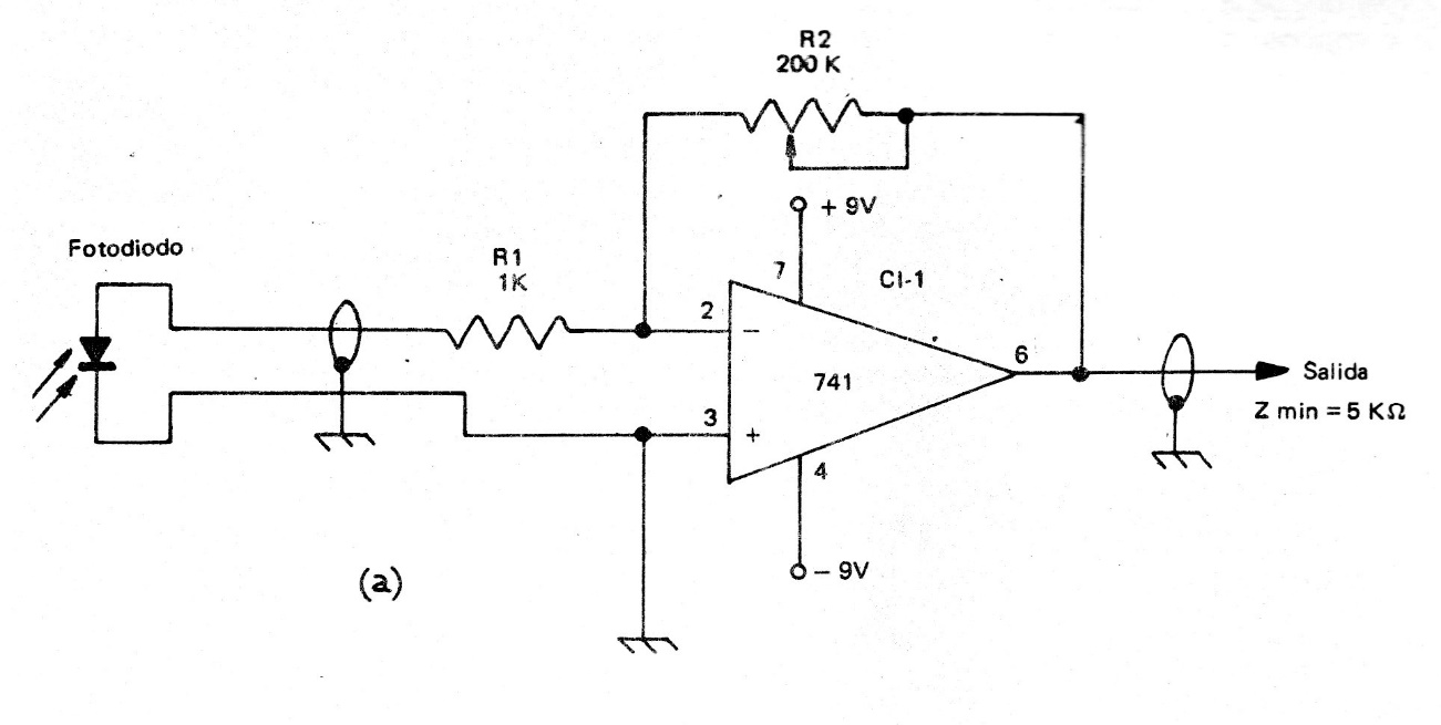
This is the basic configuration of an operational amplifier amplifying signals from a photo diode. The gain is adjusted in the potentiometer and the power supply must be symmetrical. The same circuit applies to modern operational amplifiers that use lower supply voltages.




