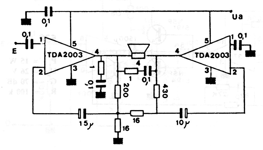
This is a factory setting that appears on many commercial devices and at various points on this site. The circuit must be powered by up to 14.4 V being indicated for automotive use and has a gain of 40dB. The input resistance is 1 M.
This is a factory setting that appears on many commercial devices and at various points on this site. The circuit must be powered by up to 14.4 V being indicated for automotive use and has a gain of 40dB. The input resistance is 1 M.