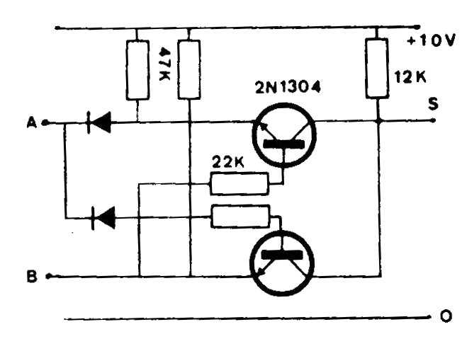
The diodes are for general use and the transistors also in this Exclusive-OR circuit. The circuit may have the values of the resistors changed to 5 V logic.
This circuit is from a documentation from the 70s. The transistors are types of germanium of the...
This filter has the components calculated for the frequency of 1 kHz but can be changed. The input...
We found this conventional receiver circuit in a 1990 documentation. The circuit includes an audio...