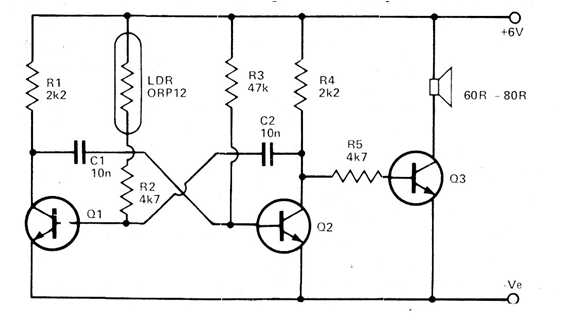
This traditional multivibrator configuration uses an LDR as a sensor. The circuit emits sound when it receives light. Transistors Q1 and Q2 can be BC548 and Q3 can be a BD135 or TIP31. The power supply can be made with voltages between 6 and 12 V.

This traditional multivibrator configuration uses an LDR as a sensor. The circuit emits sound when it receives light. Transistors Q1 and Q2 can be BC548 and Q3 can be a BD135 or TIP31. The power supply can be made with voltages between 6 and 12 V.
