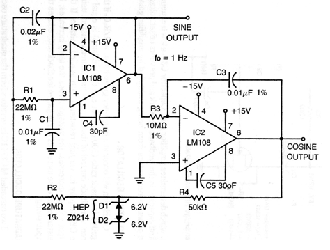
This circuit, found in a publication from the 1970s, produces a 1 Hz sinusoidal signal. Operational ones are uncommon today, but more modern equivalents like the 741 can be used. The circuit uses precision components in determining the frequency, but if not if necessary, components with common tolerances can be used. The power supply must be symmetrical.




