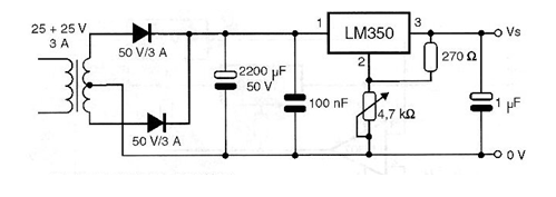
The power supply shown in the figure provides output voltages in the range of 1.2 to 25 V with currents up to 3 amps. The voltage regulator integrated circuit can be presented in a metallic housing TO-3 or plastic TO-220, but in both cases it must be equipped with a good heat radiator. The 100 nF capacitor as well as the 1 µF capacitor must be mounted as close as possible to the integrated circuit. The transformer has a primary winding according to the power grid and the diodes can have currents greater than those specified. This circuit is suggested by National Semiconductor.




