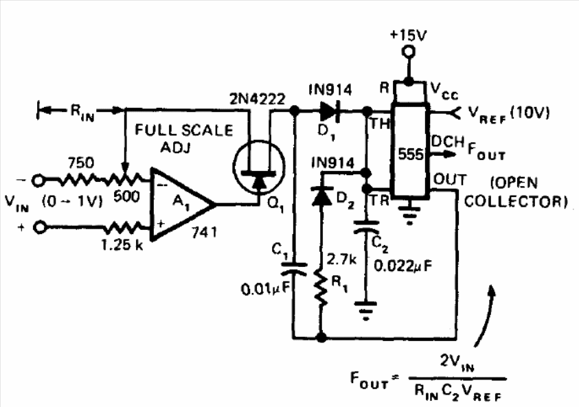
This circuit was found in a 1974 publication. It converts the applied voltage into pulses of corresponding frequency. So, we have a factor of 10 kHz for its operation, which means that a voltage variation from 0 to 1 V at the input produces pulses from 0 to 10 kHz. The 741's power must be symmetrical, and the FET can be the BF245.




