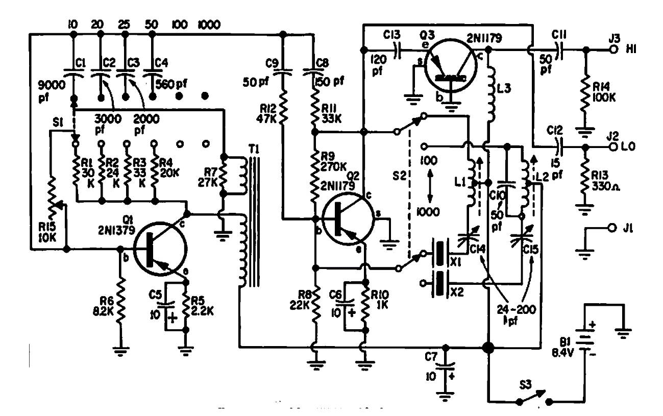
This circuit for several frequencies was obtained in an American documentation from the 90s. The frequencies range from 10 to 1 000 kHz in several bands selected by a switch. The crystals are 100 kHz and 1 MHz.
This circuit for several frequencies was obtained in an American documentation from the 90s. The frequencies range from 10 to 1 000 kHz in several bands selected by a switch. The crystals are 100 kHz and 1 MHz.