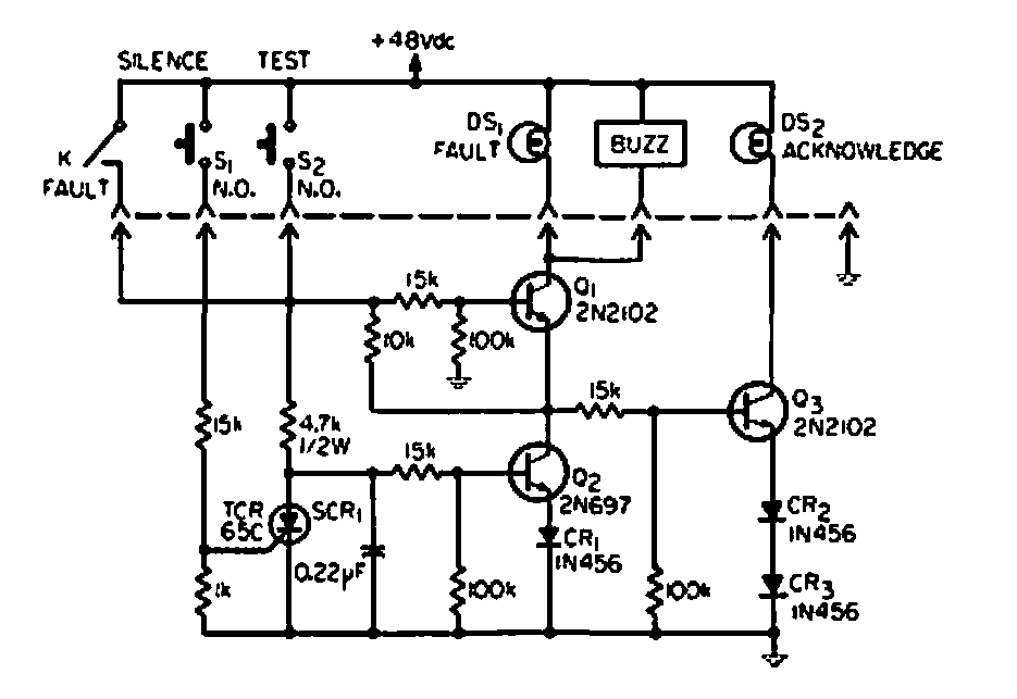
This circuit is from an old documentation. However, it can be mounted with modern equivalent transistors.
This is a high voltage probe that allows the measurement of high continuous voltages with a common...
The circuit shown in figure is suggested by Texas Instruments (www.ti.com) and makes use of the...
This well-known configuration of the guitar effects pedal was obtained in an English magazine from...