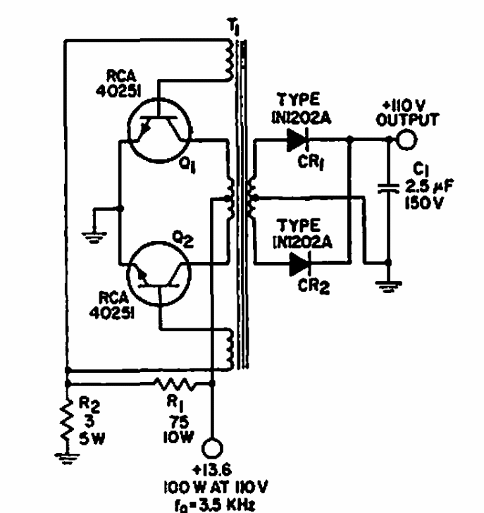
This circuit supplies a voltage of 110 V from car battery with 110 V x 100 W output. Transformer data not indicated. The operating frequency is 3.5 kHz.
We found this 4-channel mixer in the August 1999 issue of Electronics Now magazine. The circuit can...
The configuration shown makes use of a simple source and the gain is given by the relationship between R3...
This circuit was found in a 1995 documentation and is very simple to assemble, as the components are...