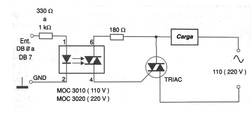
For triggering high-powered loads connected to the power grid, nothing better than using TRIACs. For this purpose, optical couplers with opto-diacs such as those of the MOC3010 (110 V) and MOC302 (220 V) series can be used. The circuit shown in the figure makes use of a MOC3010 and is indicated for triggering resistive loads.




